На стартовую страницу сайта
 
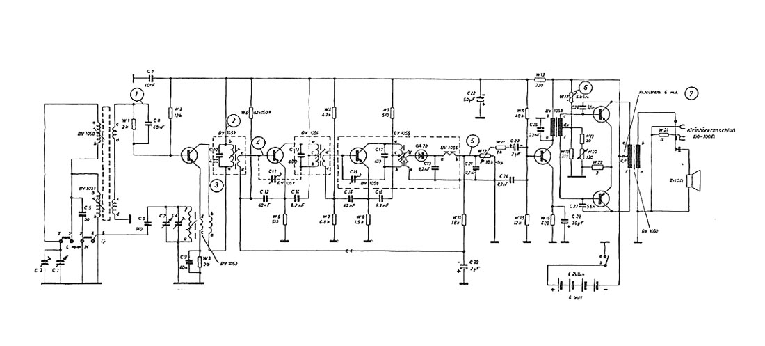
Портативный радиоприёмник "Braun T3" выпускался возможно с 1958 года фирмой  "Braun", Франкфурт, Германия. Супергетеродин на 6-ти транзисторах. Диапазоны LW 150...240 кГц и MW 550...1500 кГц. Диаметр громкоговорителя 7 см. Питание от четырёх элементов типа АА. Габариты радиоприёмника 151x84x41 мм.                                            Видеосюжет.     Фотографии с сайта abetterpage.com.
 

------.

i