На стартовую страницу сайта
 
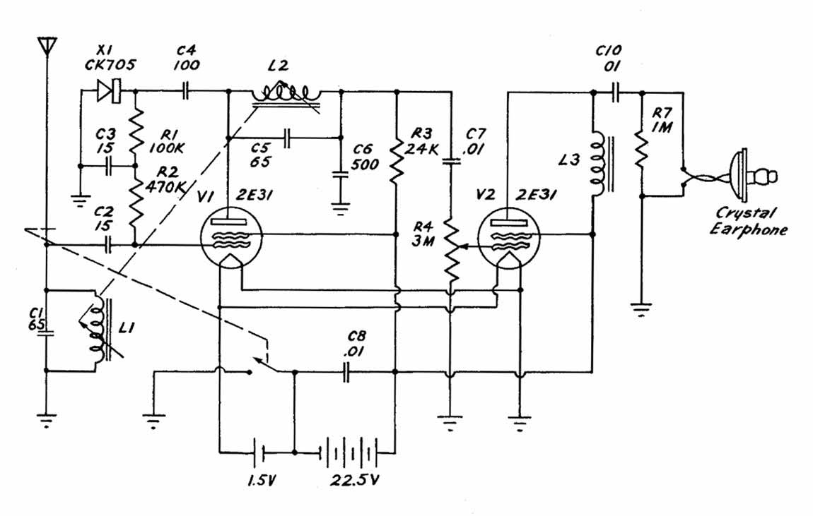
Портативный малогабаритный ламповый радиоприёмник "Privat-ear 5-DS-001" выпускался с 1949 года Американской компанией "Electronics Systems", Канзас-Сити. Приёмник собран по регенеративной схеме на двух миниатюрных лампах. Регулятор громкости изменяет обратную связь. Когда громкость минимальная - приёмник работает в режиме прямого усиления с минимальной чувствительностью и селективностью. При увеличении обратной связи повышается чувствительность и селективность, которые могут достигать больших значений. Питание - одна батарея напряжением 22,5 вольт и две батареи АА по 1,5 вольта.

Фотографии и информация (частично) взяты с сайтов http://www.abetterpage.com/, https://www.jamesbutters.com/ и http://uv201.com/.
 

----------------

i