На стартовую страницу сайта
 
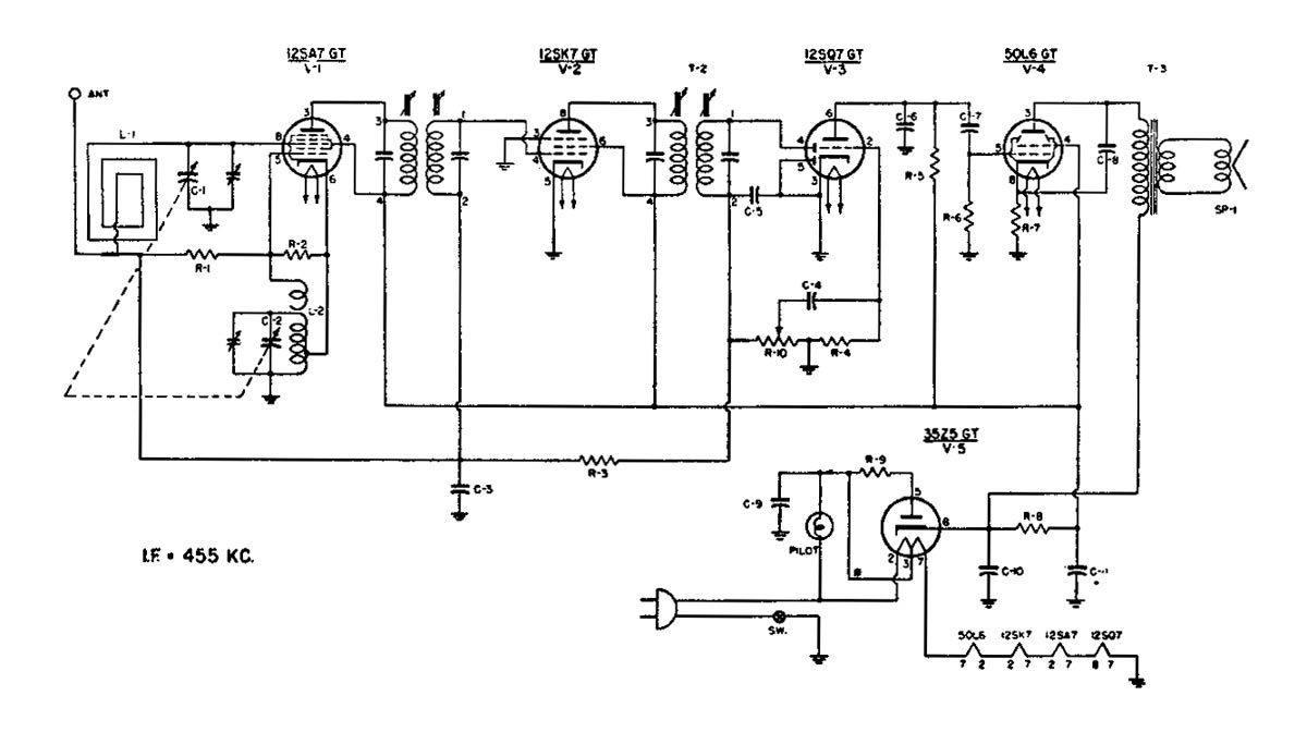
Сетевой ламповый радиоприёмник "Emerson 616A" выпускался с 1949 года корпорацией "Emerson Radio & Phonograph", в США. Радиоприёмник собран по супергетеродинной схеме на 5 радиолампах. Диапазон средних волн 540...1620 кГц. ПЧ - 455 кГц. Питание от сети постоянного или переменного тока, часотой 60 Гц и напряжением 117 вольт (105...125 вольт). Диаметр громкоговорителя 12 см. Другой информации нет.
 

-------

i