На стартовую страницу сайта
 
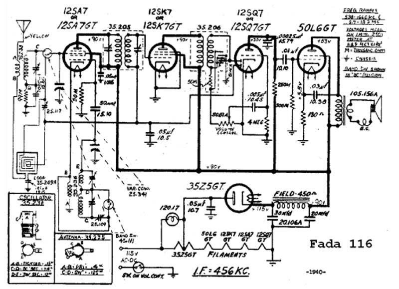
Сетевой ламповый радиоприёмник "Fada Bullet 116" выпускался с 1940 года компанией Fada Radio & Electric Co., США. Диапазоны СВ - 538...1660 кГц и КВ - 5,7...18,3 МГц. Питание AC/DC - 115 В. Размеры: 267 х 165 х 152 мм. Корпус из каталина. Имеется петлевая антенна, встроенная в заднюю крышку. Радиоприёмник "Fada Bullet 116" - экспортная европейская версия предвоенного радиоприёмника - "Fada Bullet 115".
 

------

i