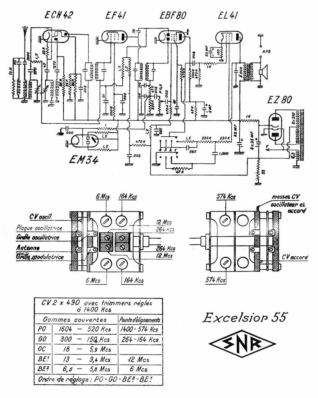
Сетевой ламповый радиоприёмник "Excelsior
55" выпускался с 1955 года компанией "SNR", Франция, Париж. "SNR" расшифровывается
как "Новое Радиовещательное Общество". Радиоприёмник собран на шести радиолампах
и работает в диапазонах ДВ (GO) 150...300 кГц, СВ (PO) 520...1604 кГц,
в обзорном диапазоне КВ (OC) 5,9...18 МГц, в КВ поддиапазоне (BE-1) 9,4...13
МГц, в КВ поддиапазоне (BE-2) 5,8...6,5 МГц. ПЧ - 465 кГц. Селективность
на всех диапазонах 26 дБ. Чувствительность на всех диапазонах - 150 мкВ.
Громкоговоритель имеет диаметр 19 см. Максимальная выходная мощность -
3 Вт. Диапазон воспроизводимых звуковых частот - 90...4500 Гц. Питается
радиоприёмник от сети переменного тока 50 Гц, напряжением 110, 125, 145,
220 и 245 В. Габариты приёмника - 575x38 x265 мм. Вес - 10,5 кг. В приведённой
электрической схеме приёмника не обозначен переключатель диапазонов и всё
что к нему относится, это подразумевается как бы априори.
Фотографии с сайта http://www.vintageradio.nl.
-
-
-
-
-
-
-
-
-
-
-
-
-
-